WCS18A系列霍尔电流传感器能在原边、副边完全隔离条件下测 量直流、交流、脉冲以及各种不规则波形的电流。

特性:精度高、线性度好、低温漂 、频带宽、响应时间快 、抗干扰能力强、过载能力强、附加电感小
万彩网100线路领域:电动汽车、逆变装置、电力机车、电网监控、工业级
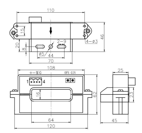
外形尺寸:

标签:
电流传感器