万彩网100线路HK501 is a high-sensitivity bipolar Hall switch chip designed based on BCDMOS technology. The chip includes temperature compensation, comparator, and output driver. In addition, mechanical stress has little effect on the magnetic parameters of the chip, making it suitable for industrial environments and automotive applications, and complying with the AEC-Q100 automotive electronics industry testing standard.
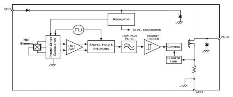
This chip is a single-chip integrated circuit. If a magnetic field perpendicular to the magnetic flux lines in the sensitive area is applied to the chip, the bias causes the Hall voltage to be proportional to the magnetic field. The Hall voltage is compared with the actual threshold level in the comparator, and if the magnetic field exceeds the threshold level, the output switch is switched to the appropriate state. The built-in hysteresis eliminates oscillations and provides a locked output switch state. This chip uses chopper compensation technology to compensate for offset caused by mechanical stress, and has built-in reverse voltage protection without the need for series resistors or diodes on the power line. In any of the following fault conditions, the open drain output is forced into a safe high impedance state: overheating and undervoltage. In addition, the output current is limited (short-circuit protection)

characteristic:
万彩网100线路Low power consumption: 2.5mA
Working voltage: 2.7 V~30 V
ESD up to 12KV
万彩网100线路Has strong resistance to mechanical stress characteristics
Temperature range: -40 ° C~150 ° C
万彩网100线路The power pin has reverse voltage protection

Application:
万彩网100线路Speed and RPM sensors
Tachometer sensor
万彩网100线路flow sensor
DC motor
Motor and fan control
Robot control
Close range sensor
Safety buckle strap
Engine hood/trunk door lock
万彩网100线路Sunroof/convertible top/tailgate/liftgate activation
万彩网100线路Brake/clutch pedal
万彩网100线路Electric Power Steering System (EPS)
Transmission shifting
wiper motor
position sensor